2.COVNA Manual Guillotine Knife Gate Valve – Rising Stem
COVNA Manual Rising Stem Knife gate valve is a uni-directional or bi-directional valve designed for general industrial service applications. The design of the body and seat assures non-clogging shutoff on suspended solids in industries. A wide choice of several actuators and accessories is available.
- Model: Knife Gate Valve
- Size Range: 2" to 80"
- Pressure Range: 0.6 to 4.0MPa
- Material: Cast Iron, Cast Steel, WCB, Stainless Steel
Manual Knife Gate Valve With Rising Stem Introduction:
Note: Hard seal only
Knife gate valves are designed mainly for on-off and isolation services in systems with high content of suspended solids. The knife gate valves are especially beneficial for handling slurry, viscous, corrosive, and abrasive media. The valves have a minimized pressure drop in the fully open position, they are easy to actuate, they have a relatively low weight, and are cost-effective.
Knife gate valves are designed to work in some of the harshest environments, typically having a sharpened blade to cut through heavy liquids.
They are especially useful in wastewater applications where corrosion is an important issue. So, in addition to the valve design optimized for slurry media, it is beneficial to have a knife made of acid-proof stainless steel as this makes it less susceptible to damages caused by corrosion, and as a consequence, it needs less frequent maintenance or even replacement.
| Size | DN50~2000 (2”~80”) | Nominal Pressure | 0.6MPa, 1.0MPa, 1.6MPa, 2.5MPa, 150Lb |
| Temperature | -38℃~1100℃ | Sealing Material | SS or Teflon seal |
| End connection | Wafer or Flange | Flange Drilling | ANSI/ GB/ DIN/ GIS/ NF/ BS |
| Main Materials | Cast Iron, WCB, SS, CF8 | Actuation | Electric, Pneumatic or Manual |
Knife Gate Valve Widely Application:
The valve is suitable for pipeline conveying such mediums including syrup, paper pulp, sludge, sewage, coal slurry, etc. for controlling switching on/off and throttling. It allows horizontal mounting as well as inclined mounting.
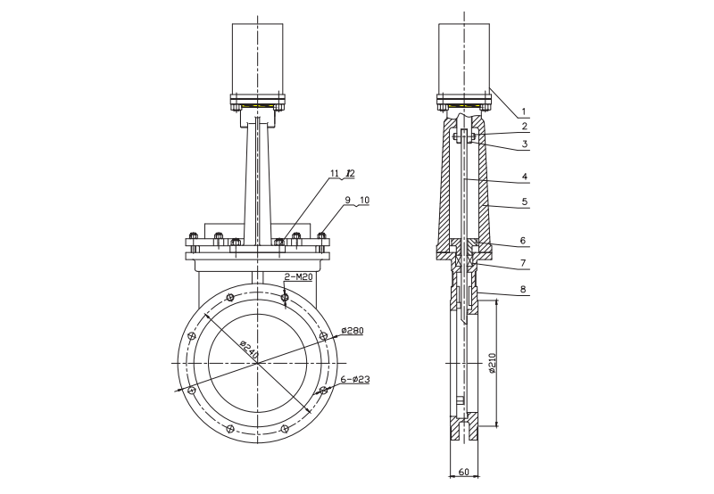
Knife Gate Valve Dimensions:
| NO. | Name | Materials |
| 1 | Pneumatic actuator | Steel |
| 2 | Pin | SS304 |
| 3 | stem | SS304 |
| 4 | wedge | SS304 |
| 5 | yoke | CF8 |
| 6 | packing giant | CF8 |
| 7 | packing | PTFE |
| 8 | body | CF8 |
| 9 | nuts | SS304 |
| 10 | bolts | SS304 |
| 11 | nuts | SS304 |
| 12 | bolts | SS304 |
Types for knife gate valves:
|
|
|









